▲
게임은 물론 다양한 기능을 지원한다!
스마트폰을 연상시키는 SECA의 차기
휴대용 제품 이미지 (출처: 북미 특허청)
차기 PSP가 게임은 물론 다양한 기능을 포괄하는 스마트폰과 같은 기기로 개발될 가능성이 제기되었다.
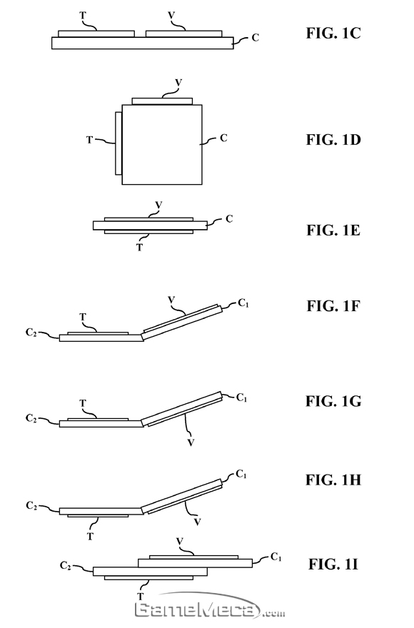
지난 25일 북미 특허청은 SCEA가 출원한 차세대 휴대용 기기의 터치 조작 기술에 대한 특허 자료를 공개했다. 관계자들이 PSP2 관련 특허라 전망하는 해당 자료에 따르면 SCEA의 신규 제품은 단순히 ‘게이밍’을 위한 휴대용 콘솔이 아니다. 기본적인 터치 조작은 물론 링크 활성화, 비주얼 키보드, 스크롤바 등 웹 서핑에 필요한 다양한 인터페이스를 상세히 기획한 문서 및 이미지 자료는 마치 스마트폰을 연상시킨다.
▲
자료에 첨부된 비주얼 키보드 이미지(출처: 북미 특허청)
특허 자료는 휴대용 기기의 터치 스크린 조작에 적용될 기술과 유저 인터페이스를 설명하는 데 초점을 맞추고 있다. 자료에 근거하면 SECA의 차기 휴대용 제품은 전면/후면 터치 방식을 지원한다. 여기에 기기 디자인 기획 이미지 다수를 살펴볼 수 있다.
▲
전면 화면 인터페이스 구성 설명 이미지(출처: 북미 특허청)
▲
제품의 디자인 기획 이미지(출처: 북미 특허청)
자료를 토대로 추정하면 해당 기기의 사용방법은 스마트폰과 동일하다. 웹 서핑에서 본 자료의 링크를 바로 따서 텍스트화 할 수 있다. 링크 활성화 창은 터치 시, 확대되어 앞으로 튀어나오기 때문에 사용하기 편리하다. 특정 부분을 확대하여 보는 기술은 비주얼 키보드를 활용한 텍스트 입력이나 다수의 콘텐츠 중 필요한 것을 불러올 때에도 적용된다. 이용자가 원하는 부분을 확대해 제시하는 이 기능은 한 항목 안에 많은 수의 자료가 있는 시스템에 편의성을 더한다.
▲
링크창을 활성화하면 크게 변하며 전면으로 튀어나온다(출처: 북미 특허청)
▲
터치하면 확대되는 텍스트 입력 창(출처: 북미 특허청)
▲
원하는 콘텐츠를 고르면 두드러지게 제시된다(출처: 북미 특허청)
각종 프로그램의 아이콘이 자리한 시작 화면과의 연동 시스템도 지원한다. 특정 프로그램을 실행한 이후에도, 스크린 하단에 시작 화면으로 이동하는 아이콘이 있다. 이 아이콘을 클릭하면 다수의 아이콘이 있는 시작 화면으로 넘어갈 수 있다.
▲
콘텐츠 실행 화면과 좌측 하단에 자리한 시작 화면을 불러오는 버튼(출처: 북미
특허청)
미리 골라놓은 콘텐츠 중, 필요 없는 것을 한번에 취소할 수 있는 ‘캔슬’ 버튼과 여러 콘텐츠를 동시에 실행하는 ‘커밋’ 버튼, 비활성화된 기능을 불투명한 색으로 가려 의도치 않은 터치로 사용하지 않는 콘텐츠가 작동할 위험을 방지하는 편의 시스템에 대한 내용이 자료에 나와 있다.
▲
필요 없는 기능을 찍어 캔슬 버튼을 누르면 한꺼번에 취소시킬 수 있다
▲
비활성화된 화면을 불투명한 색으로 가려 비효율적인 터치 조작
발생을 막는다
한 가지 독특한 점은 스크롤바를 이용하는 방식이다. SCEA의 신규 휴대용 기기는 세로로 긴 텍스트를 내려가며 볼 수 있는 스크롤바를 지원한다. 다만 SCEA는 스크롤바 위아래를 클릭해 원하는 만큼 빠르고 쉽게 화면을 조정하는 기능을 지원한다. 기존 스마트폰의 경우, 손가락으로 일일이 화면을 움직여야 하는 번거로움이 뒤따랐다. 반면 해당 기기는 스크린 왼쪽의 스크롤바를 한 번만 클릭하면 원하는 부분을 쉽게 찾을 수 있다. 스크롤바 자체를 클릭해 내려가는 정도를 조절하기 때문에 보다 세밀한 화면 조정을 지원하는 부분 역시 장점이다.
▲
스크롤바를 지원을 설명하는 이미지(출처: 북미 특허청)

- 개발자 실수로, ‘피코 파크 클래식’ 영구 무료 배포
- [겜ㅊㅊ] 한국어 패치로 더욱 '갓겜' 된 스팀 명작 9선
- 14년 6개월간 이동해서 마인크래프트 끝에 도달한 남자
- 디아블로 4 포함, 블리자드 게임 최대 67% 할인
- 대놓고 베낀 수준, PS 스토어에 '가짜 동숲' 게임 등장
- 클레르 옵스퀴르 작가 “두 가지 결말 중 정사는 없다”
- 한국어 지원, HOMM: 올든 에라 스팀 체험판 배포
- [순정남] 연휴 마지막 날, 슬프지만 이들보단 낫다 TOP 5
- 33 원정대 최다, 골든 조이스틱 어워드 2025 후보 공개
- AK47 든 중세 기사 '킹메이커스' 출시 직전 무기한 연기
일 | 월 | 화 | 수 | 목 | 금 | 토 |
---|