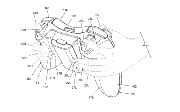
▲ 감압식 센서를 탑재한 게임 컨트롤러 컨셉 이미지
(사진 출처: USPTO)
마이크로소프트(MS)가 게임 컨트롤러에 감압식 센서를 탑재하는 신기술 특허를 출원했다.
MS는 지난 8일, 미국 특허청(USPTO)에 ‘손의 압력을 사인으로 사용하는 퍼스널라이트’ 라는 컨셉 의 상표를 출원했다. 상표 내용에 따르면 휴대전화, 가정용 게임기 컨트롤러, 리모콘 등의 디바이스에서 복수 감압식 센서를 사용, 사용자의 손바닥이나 손가락 신호(악력)를 기억(또는 감지)한다. 결과적으로 사용자가 게임 컨트롤러에 손만 대도 Xbox LIVE에 자동 로그인도 가능하다고 명시했다.
감압식 센서는 현 정전식 터치 기반의 최신 스마트폰이 등장하기 이전 기술로, 표면에 가해지는 압력을 센서가 좌표로 잡아내는 방식이다. 그 만큼 터치감은 떨어지고 반응도 느리다. 하지만 정전식 터치 기능 보다 픽셀단위의 정교한 터치(압력) 산출을 자랑한다. 이를 기반으로 사용자 개개인의 악력 및 디바이스에 가해지는 압력의 세기 구분이 가능하다.
이번 MS의 신기술 특허 출원을 두고 일각에서는 차세대 콘솔 게임기 Xbox720(비공식)의 컨트롤러에 적용될 기술일 것이라는 의견을 내고 있다. 반대로 특허출원이 기업의 독점권에 의한 권리 행사를 목표로 확보하려는 경우도 많아 속단할 수 없다는 입장도 있다.
한편, MS의 차세대 게임기과 이번 신기술에 대한 추가 정보가 있을 것으로 예상되는 ‘E3 2012’ 컨퍼런스는 오는 6월 5일 개최된다.

- 개발자 실수로, ‘피코 파크 클래식’ 영구 무료 배포
- [겜ㅊㅊ] 한국어 패치로 더욱 '갓겜' 된 스팀 명작 9선
- [순정남] 대놓고 결말 스포일러 하는 게임 TOP 5
- 프메 개발 중단에 이어, 디자드 '아수라장' 서비스 종료
- [오늘의 스팀] 둠 이터널 등, 가을 할인 90% 게임들 주목
- 클레르 옵스퀴르 작가 “두 가지 결말 중 정사는 없다”
- MS 게임패스 가격 인상은 '콜 오브 듀티' 손실 때문?
- "에너지가 없다" 페이블 개발자 피터 몰리뉴 은퇴 시사
- 33 원정대 최다, 골든 조이스틱 어워드 2025 후보 공개
- Xbox 게임패스 가격 25~52% 인상, 이용자 반발 극심
일 | 월 | 화 | 수 | 목 | 금 | 토 |
---|