뉴스 > 산업

소니, 레고처럼 조립하는 모션 컨트롤러 특허 출원

/ 1

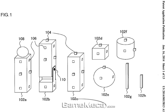
▲ 소니가 새로 특허 출원한 컨트롤러의 대략적인 모습

지난 16일(현지시간), 소니가 새롭게 특허 등록한 체감형 컨트롤러의 정보가 공개됐다. 해당 컨트롤러는 블록 형태를 한 각각의 부품을 이어 유저가 원하는 모양을 만들 수 있는 것이 특징이다.

작년 9월 13일에 미국 특허청(USPTO)에 특허 신청된 해당 제품의 가칭은 ‘빌드 유어 오운 컨트롤러(Build-Your-Own-Controller)’로, 컨트롤러의 모양 변화에 따라 게임 속에서 인식하는 기능도 달라진다. 당시 소니에서 첨부한 이미지에 따르면, ‘빌드 유어 오운 컨트롤러’는 일반 총과 라이플 외에도 단검 등의 다양한 도구로 조립할 수 있다.

조립된 컨트롤러의 인식기 부분은 기존에 출시됐던 ‘PS무브’와 비슷한 형태를 띤다. 그러나 기존 PS무브와의 호환 여부는 밝혀지지 않았으며, 특허 출원 신청서에 첨부된 이미지에도 개별 부품처럼 묘사되어 ‘빌드 유어 오운 컨트롤러’는 완전히 독립적인 제품으로 출시될 것으로 추측된다.

이처럼 조립된 컨트롤러는 PS 콘솔 시리즈에 탑재된 PS카메라를 통해 인식이 가능하다. 특히, PS카메라는 컨트롤러의 단순한 모양 변화 외에도 특정 물체와의 거리, 크기 등도 잡아낼 수 있는 것으로 알려졌다.

해당 소식을 접한 누리꾼들은 ‘이 컨트롤러가 출시되면 게임 속에서 총 조립하는것도 가능할 듯’, ‘아동용 게임에 적용하면 재밌을거 같다’는 등의 반응을 보이고 있다.

‘빌드 유어 오운 컨트롤러’의 실제 개발 여부나 출시 일자에 대해서는 알려진 바 없다.






▲ 컨트롤러의 기능에 대해 설명하는 그림
이 기사가 마음에 드셨다면 공유해 주세요
허새롬 기자 기사 제보
게임잡지
2005년 3월호
2005년 2월호
2004년 12월호
2004년 11월호
2004년 10월호
게임일정
2025
10